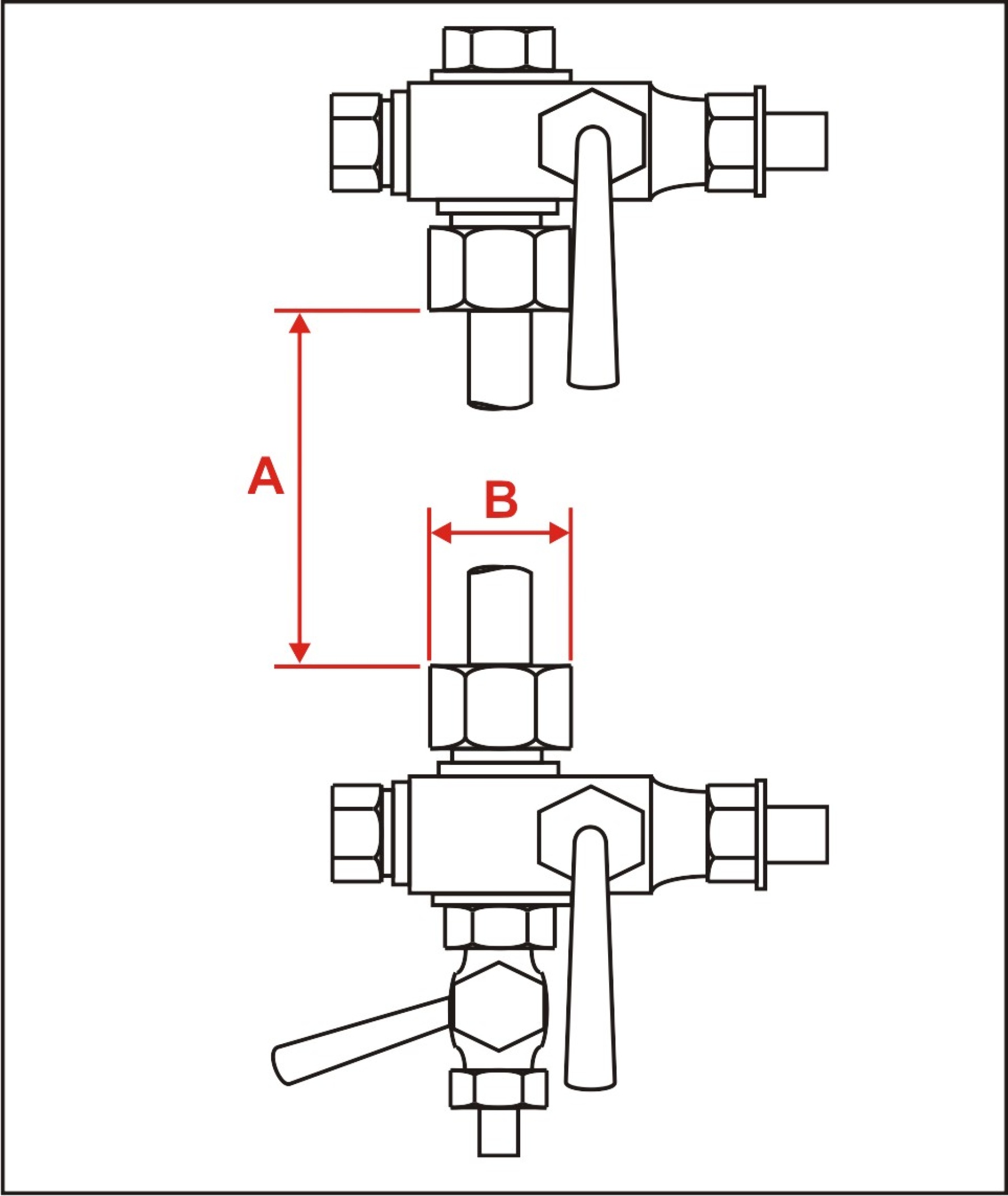
Protector 1 15/16"

SKU: 12A023
Excl. VAT: £0.00
Incl. VAT: £0.00
Please ring us to order this item

Protector 1 15/16"

Please contact us to purchase this product as it is manufactured to your specification.

Gunmetal mounts, three toughened glass panels. Securing screw at the bottom.

All lengths and glass nut size mounts available.

Our Accreditations